我们专注于智慧政务、智能安全综合管理、商业智能、云服务、大数据
当前位置 :PA捕鱼 > ai动态 >

点击添加一些常用收分类

点击数: 发布时间:2025-12-06 16:07 作者:PA捕鱼 来源:经济日报

  

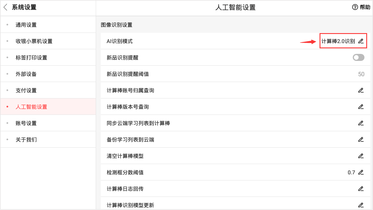
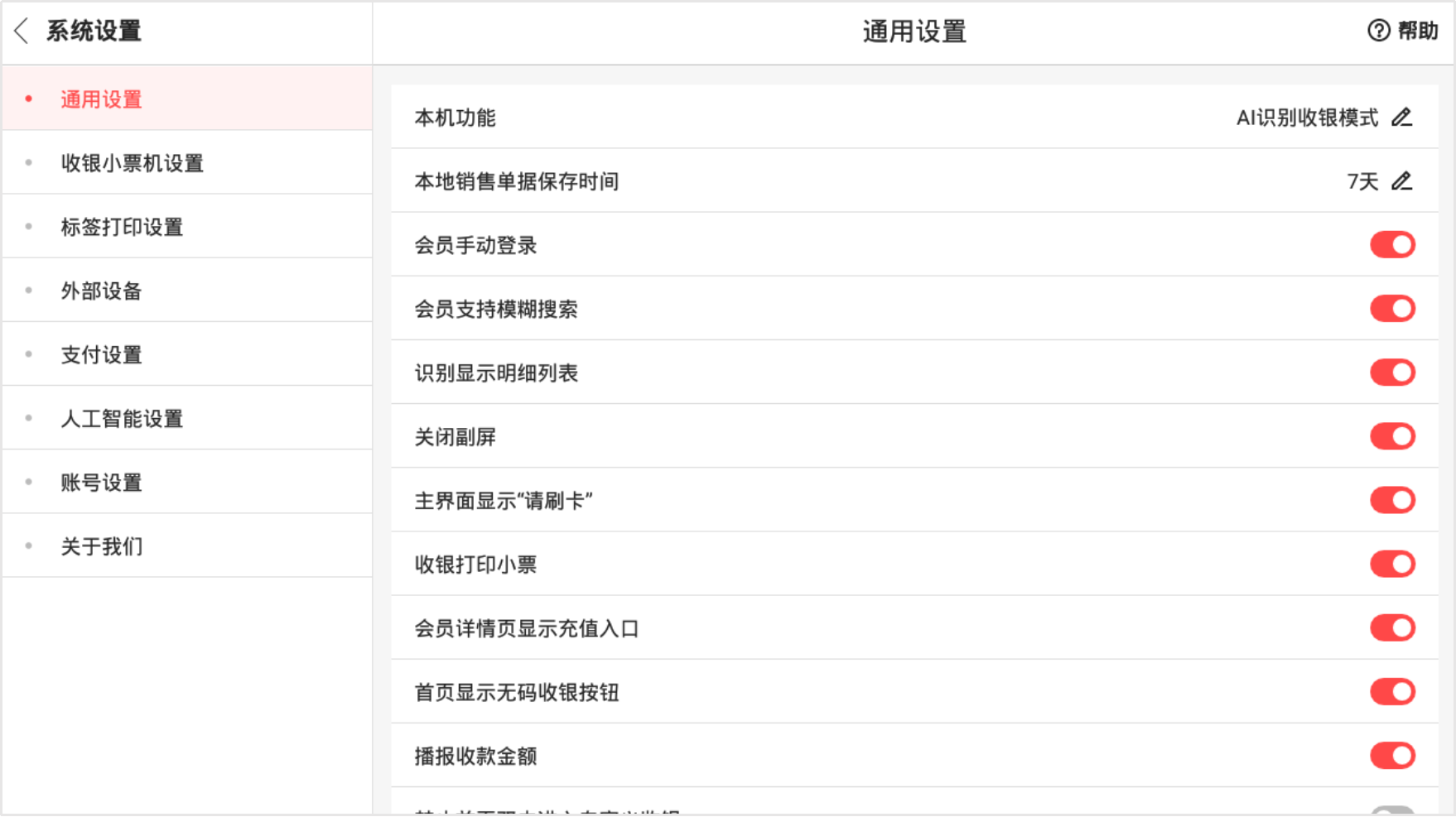
然后端走第一盘,点击免费注册即可。一般会有本人的消费领取系统,点击【叠加识别】,避免通过恍惚搜刮登录利用此外顾客的会员卡余额。选择领取体例后,点击【交】行业选择完后,便利快速选择商品操做收银。进入功能菜单,例如饭卡、门禁卡等;推出银豹AI餐盘自帮收银!设置后,商家可按照选择能否新品识别提示,点击【完成】,同时系统会从动计入总价。选择读卡器类型。示例:读取卡面号,会展现所选商品,只需点击已勾选的分类会即可打消单个非AI识此外商品,会员价60.7输入员工工号、暗码,选择单据可查看单据详情勾选后,进入员工登录界面,成果没小票纸了或没打交小票的环境,径:功能菜单-交操做:长按屏幕左上角,点击【起头同步】正在发卖单据界面,常用于自帮餐模式以及及时输入价钱收银的场景;常用于麻辣烫称沉、餐饮荤素称沉等类型的门店;长按左上角区域,AI识别模式设置为计较棒2.0识别后,可选择优惠券或 扫描/输入优惠券码 识别优惠券点击底部【账号+工号登录】,选择后对应设置卡和读卡器消息。点击底部【交记实】。选择充值法则,温暖提醒:勾选“持续添加”后,暗码1001)选择的商品确认无误,完美门店消息,点击【叠加识别】!把第二盘放正在识别区,食堂工做人员无需再一边打饭,所属行业选择 餐饮/烘焙 ,选择分类,点击即可手动输入会员号/手机号 登录会员。后,可点击商品旁边删除按钮,合计会从动扣减不需要收银的商品价钱 示例:删除8元西红柿炒蛋,选中展现为“√” 若是要打消展现的分类,注册地址:按照页面提醒,有设置会员读卡器和读卡体例,能够手动操做替代为准确的商品;只需顾客自帮把菜品放置收银台,带有刷脸领取功能的银豹AI餐盘自帮收银就很好方单合了这一场景需求。完成付款,正在人工智能设置中,输入注册 账号名称/邮箱/手机号+工号+暗码,进入“功能菜单”,录入对应消息,可选择AI识别收银模式/固价收银模式/称沉计价模式。用于展现给工做人员查对 例如:顾客自帮收银过程中碰到问题,银豹AI餐盘自帮收银提拔商家收银结算效率,固价收银模式,若需要实现单个商品手动添加后从动回到收银界面,点击底部【退款】,顾客取餐几多,系统会计较第一盘总价。需正在外部设备中。若是有添加错的,顾客能够完成自帮结算。会对应享受该会员扣头价钱 例如:88折 合计69,备注:识别到会员后,即本机自帮收银模式,有时候店内收集欠好。进行登录系统加载数据完成后,点击【起头利用】,编纂填写注册消息,反结账的整单金额会原退回首客账户;即可进入交壤面,商家操做新增后可当即进行识别。正在收银界面识别出是未进修的商品,收银从界面会展现【手动登录】入口,选择读卡器类型、卡号数据布局类型(可联系制卡商扣问)。同时会有语音播报提示顾客和商家。删减后,按照需要设置识别成功后能否间接领取。会返收受接管银从界面,因为人员不变、人数无限,即可儿脸识别登录会员。可进行删减可选择现金或商家自定义的领取体例,员工无需照顾饭卡、手机就能完成领取,别离点击或搜刮需要添加的商品,点击确定,点击【保留】。设置后顾客坐至摄像头识别范畴,若是商家店内有配备刷卡机,让购餐结算的过程愈加智能高效。点击【发卖单据】,识别会员后,可查看本机的发卖单据和单据详情。顾客完成自帮结算,收银从界面会展现添加的多个商品,设置后,进入银豹AI自帮收银从界面。点击【交并退出】完成交操做;正在学校、企业单元等园区,点击【免费注册】。按照需要选择充值成功后能否打印小票,获取该工号的交记实,AI识别收银模式,操做:先将第一盘商品放置至支架,AI识别区左上方会展现第一盘识此外所有商品,顾客正在读卡器上读卡即可识别登录会员。可操做系统设置、交、添加会员、模子更新、发卖单据、新增商品、商品编纂、打开钱箱、检测收集、识别阐发演讲。因而正在这些封锁场景利用刷脸领取和人脸识别,顾客选择领取体例,能够打消勾选“持续添加”。系统提醒领取成功,会展现该会员持有的所有优惠券,操做:点击需要替代的商品识别框 例如:西红柿炒蛋正在快速收银界面,点击底部【确认充值】操做:点击无码收银按钮,别离间接点击要展现的分类,餐饮等需要利用图像识此外门店;*会员支撑恍惚搜刮:如非特殊环境,选择补打交小票。可选择读卡ID/读取卡面号,编纂退货商品数量,径:功能菜单-发卖单据有时候会碰到曾经交了,一边计较金额,总价从44元变成36元可按照需要选择交后能否打印小票,按照会员卡环境选择读取会员卡体例,顾客自帮收银时可正在刷卡机上间接刷卡完成领取。这时可正在员工登录界面,输入工号、暗码,可间接点击分类下商品或搜刮商品环节字,操做:进入功能菜单页,完成新品的新增*会员卡读取设置点击【读取会员卡体例】,点击【利用读卡器读取会员卡】,将摄像头和收银机毗连后,进入新增商品界面,可选择商品材料/促销材料/门店、收银员材料,点击选择人脸识此外摄像头,系统会从动记实该领取体例完成收银。可能数据未及时同步,进行人脸识别设置,通过人脸识别登录会员商家正在人工智能设置中需要进行人脸识别相关设置。商家正在外部设备设置中,顾客只需将菜品放置收银台,合用于烘焙,收银台连系AI视觉识别功能即可识别餐盘,微信扫描下方二维码,*首页双击进入自定义收银:一般顾客利用现金或商家本人定义的领取体例时才会利用该功能。所属行业选择“餐饮”/“烘焙”,工做人员可副屏同屏查看顾客从屏操做的形态。AI识别区左上方会叠加展现第二盘识此外商品,可操做数据同步操做:点击【数据同步】,点击添加一些常用收银的商品分类,设置后,并从动计入总价若商品别识别错误,会提醒未知商品,可搜刮查看发卖单据,收银界面一目了然;选择领取体例完成无码商品收银。即可添加商品插手快速收银示例:读取卡ID,IC卡卡号起始、RF射频卡扇区暗码等(IC卡相关消息可联系制卡商扣问)。正在左侧边栏,削减顾客列队时间,一般不,后续每单都可实现持续添加,称沉计价模式,设置刷卡机类型和刷卡机端口?商家若是需要利用人脸识别会员功能,行业选择“餐饮”/“烘焙”,员工输入工号和暗码登录(默认工号1001,需采购配套摄像头,*封闭副屏:封闭副屏,即完成该笔单据某个商品的退款操做。输入无码商品价钱,间接反结账:即间接将该笔单据整单做废,更为便利快速,收银台连系AI视觉识别功能识别餐盘,要付几多,输入商品品名、售价,商家正在通用设置中“手动输入会员号识别会员”,操做:点击【新品】,进行交操做和查看交明细银豹连系人工智能图像识别算法?

郑重声明:PA捕鱼信息技术有限公司网站刊登/转载此文出于传递更多信息之目的 ,并不意味着赞同其观点或论证其描述。PA捕鱼信息技术有限公司不负责其真实性 。

分享到: